Facebook Bikin Motor yang Bisa Berdiri Sendiri
Selasa, 11 Juni 2019 | 15:38 WIB
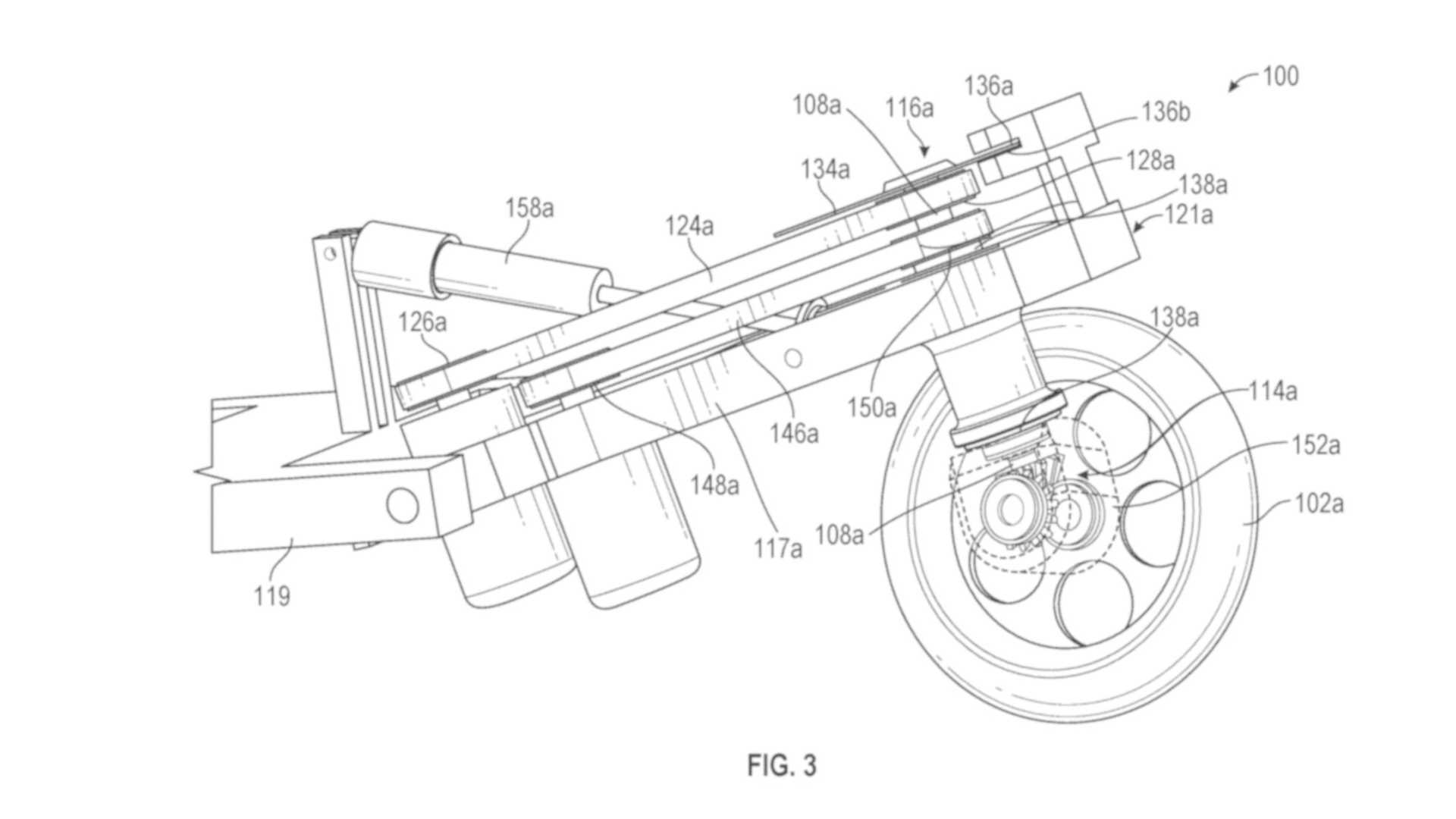
100kpj – Facebook mulai melirik dunia otomotif, di mana telah mematenkan kendarannya. Platform jejaring sosial itu dikabarkan tertarik mengembangkan sepeda motor yang memiliki teknologi anti-jatuh.
Dilansir Rideapart, Facebook mengusung konsep dengan desain melibatkan stabilizer loop kontrol yang menyeimbangkan sepeda secara otomatis. Bahkan, kedua roda mampu melakukan mengemudi.
Belum jelas apa tujuan dari aplikasi paten ini, mungkin jika Google dapat mengembangkan mobil self-driving, maka mungkin Facebook ingin menuju ke arah roda dua yang lebih ramah.

Motor ini menggunakan dua stabilizer di kiri dan kanan yang berfungsi untuk membantu gerak masing-masing roda. Sementara di atas roda terlihat mirip sistem rem (disc brake/rem cakram), yang seakan berfungsi menyeimbangkan motor dalam posisi diam meski tanpa bantuan penyanggah dan pengendara.
Kecanggihan lainnya, sistem kerja kedua roda bisa berputar 360 derajat secara robotik sehingga motor tidak akan jatuh meski pengendaranya tidak menurunkan kaki.

Banyak prediksi bila gambar-gambar ini hanya untuk kebutuhan edukasi teknologi kendaraan self-balancing ke sekolah-sekolah dan sejumlah universitas di Amerika Serikat. Namun, tentunya ini menjadi terobosan baru bagi dunia otomotif.
“Platform kendaraan yang dijelaskan di sini dapat memiliki banyak aplikasi. Misalnya, platform kendaraan dapat, ketika terintegrasi dalam desain sepeda motor, menyediakan bentuk transportasi yang ditingkatkan (dan berpotensi otonom) bagi manusia. Platform kendaraan ini juga dapat digunakan untuk mendukung robot yang dikonfigurasi untuk menavigasi melalui kondisi lingkungan, tulis Facebook seperti dilansir Ridepart.

Berita Terkait
Tips & Trik
15 Agustus 2025
Motor Matic Mati Saat Standar Dua atau Kena Guncangan? Ini Solusi Ampuh!
Tips & Trik
15 Agustus 2025
Baut Tap Oli Slek atau Dol? Ini Solusi Jitu Bikin Lubang Kembali Kuat!
Tips & Trik
14 Agustus 2025
Bikin Kaget! Cara Gampang Hilangkan Suara Dinamo Starter Motor 'Nguung' Saat Dimatikan!
Tips & Trik
14 Agustus 2025
Busi Hitam Pertanda Boros! Ini Cara Gampang Mengiritkan Karburator Motor Biar Lebih Irit!
Tips & Trik
11 Agustus 2025
Aneh Tapi Nyata, Motor Mati Saat Standar Dua atau Kena Guncangan? Jangan Panik, Cek 1 Kabel Ini!
Tips & Trik
10 Agustus 2025
Tarikan Gas Motor Matic Terasa Berat? 2 Trik Jitu Ini Solusinya!
Tips & Trik
10 Agustus 2025
Jengkel Tarikan Motor Vario Ngeden dan Terasa Berat? 4 Faktor Ini Ternyata Biang Keroknya!
Tips & Trik
10 Agustus 2025
Starter Motor Matic Susah Dihidupkan dan Ngelos? Ini Solusi Paling Jitu!
Tips & Trik
10 Agustus 2025
Suara Ngiung di Transmisi Motor Beat? Ini Solusi Ampuh Bikin Mesin Halus!
Tips & Trik
10 Agustus 2025
Panik Motor Matic Brebet Saat Mesin Dingin? Ini Trik Reset ECM Sepele yang Bikin Motor Normal Lagi!
Terpopuler
Sirkuit
10 Mei 2025
Aldi Satya Mahendra Baru Bisa Percaya Diri Setelah Raih 10 Besar di World Supersport 2025,
Sirkuit
10 Mei 2025
PT Suzuki Indomobil Sales Kembali Buka Suzuki Owners Fun Race 2025
Sirkuit
10 Mei 2025
Harumkan Bangsa, 2 Pemuda Indonesia Siap Bersaing di Junior GP World Championship Eropa
Sirkuit
27 Desember 2024
Max Verstappen Sebut Marc Marquez Perlu Belajar ke Francesco Bagnaia
Sirkuit
24 Desember 2024