Paten Mesin Motor Listrik Supercharged BMW S1000RR Bocor
Selasa, 20 Agustus 2019 | 14:22 WIB

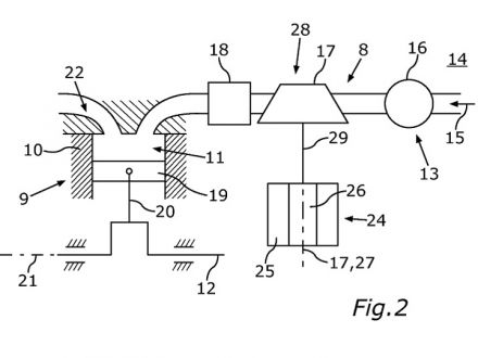
Dalam ambar paten menunjukkan BMW S1000RR masa depan akan dibantu kompresor yang didukung motor listrik untuk mendorong udara ke ruang bakar melalui intercooler.
Model ini akan menghilangkan kebutuhan mesin putaran tinggi, alhasil menghilangkan gas buang tambahan dan konsumsi bahan bakar lebih efisien.
Berita Terkait
Motonews
28 Juli 2025
Gak Nyangka! Honda Cuv e: Didiskon Besar-besaran, Ini Alasannya!
Tips & Trik
5 Juli 2025
Mengapa Harga Motor Listrik Masih Mahal? Ini 3 Alasan Utamanya!
Motonews
18 Juni 2025
Daftar Harga Baterai Motor Listrik di Indonesia, Pilihan Beragam dan Harga Variatif!
Motonews
17 Juni 2025
Bikin Awet Motor Listrikmu! Pahami Jenis Baterai Motor Listrik Terbaik dan Paling Populer Ini
Tips & Trik
4 Juni 2025
5 Kesalahan Fatal yang Bikin Baterai Sepeda Listrik Cepat Rusak, Nomor Terakhir Sering Dilupakan!
Tips & Trik
1 Juni 2025
Ternyata Ini Arti 5 Garis Kecil di Motor Listrik R7S, Banyak Pengguna Salah Paham Selama Ini!
Tips & Trik
31 Mei 2025
Bikin Motor Listrik Awet Bertahun-tahun! Ini Cara Rawatnya yang Jarang Orang Lakukan
Motonews
16 Desember 2024
Ini Harga Resmi Motor Listrik Honda CUV e: dan ICON e:, Tetap Saja Mahal!
Motonews
10 Desember 2024
Terungkap! Ini Desain Motor Listrik yang Meluncur Tahun Depan dari MAKA Motors
Motonews
8 November 2024
Royal Enfield Flying Flea, Motor Listrik Bergaya Klasik
Terpopuler
Motonews
16 Juli 2025
Jangan Salah Pilih! Panduan Lengkap Memilih Kekentalan Oli Motor Sesuai Kondisi Mesin
Motonews
11 Juli 2025
Memahami Pajak Progresif Kendaraan Bermotor: Apa Itu dan Siapa yang Kena? Simak Penjelasannya
Motonews
11 Juli 2025
Perbedaan Pajak Progresif Motor dan Mobil, Yuk Simak Penjelasan Singkatnya!
Motonews
29 Juni 2025
Wajib Tahu! Berikut Perbedaan Minyak Rem DOT 3, DOT 4, dan DOT 5 untuk Motor Anda
Motonews
21 Juni 2025